Forord
Havarikommissionen for Civil Luftfart og Jernbane (Havarikommissionen) er en uafhængig statslig organisation, der har til formål at undersøge havarier, ulykker og hændelser inden for luftfart og jernbane.
Havarikommissionen undersøger ulykker og hændelser på jernbaneområdet med henblik på at forbedre jernbanesikkerheden og forebygge ulykker.
I overensstemmelse med jernbaneloven afspejler denne redegørelse Havarikommissionens undersøgelser og sikkerhedsmæssige vurderinger af omstændighederne ved ulykken eller hændelsen samt dens årsager og konsekvenser.
Undersøgelserne har alene et jernbanesikkerhedsmæssigt formål og tager ikke sigte på at placere skyld eller erstatningsansvar. Derfor kan enhver brug af denne redegørelse til andre formål end at forbedre jernbanesikkerheden eller forebygge jernbaneulykker og -hændelser, føre til fejlagtige eller misvisende fortolkninger.
Eftertryk - også i uddrag - er tilladt med tydelig kildeangivelse.
Generelt
|
Sagsnummer: |
2024-562 |
|
Dato: |
30-10-2024 |
|
Tidspunkt: |
8:57 og 9:53 |
|
Sted: |
Mellem Kildebrønde og Jersie Fjern i km 24,6 samt på Storebæltsbroen i km 124,0 |
|
Uheldstype: |
Hændelse |
|
Uheldskategori: |
Andet |
|
Kørselskategori: |
Togkørsel |
|
Infrastrukturforvalter: |
Banedanmark |
|
Jernbanevirksomheder: |
DSB |
Personskade
|
Omkomne |
Alvorligt tilskadekomne |
Lettere tilskadekomne |
|
|
Passagerer: |
|
|
|
|
Personale: |
|
|
|
|
Personer i overkørsel: |
|
|
|
|
Uautoriseret: |
|
|
|
|
Andre: |
|
|
|
Underretning
Havarikommissionen fik underretning fra DSBs undersøgelsesvagt d. 30-10-2024, kl. 11:00 om, at der havde været en hændelse med Intercitytog 70831, litra ER 2008. En aflåst indstigningsdør var sprunget helt op under kørsel fra Køge Nord mod Ringsted, imens der sad en passager i vestibulen. Ingen personer var kommet til skade. Togets personale fik aflåst døren igen og fortsatte kørsel mod Fyn/Jylland. Døren sprang imidlertid op igen på Storebæltsbroen.
På baggrund af oplysningerne om den gentagne fejl på en sikkerhedskritisk komponent, besluttede Havarikommissionen at indlede en undersøgelse jf. Jernbanelovens § 81, Stk. 2.
Havarikommissionen undersøgte dørene på ER 2008 d. 11-11-2024 og d. 13-11-2024.
Resumé
D. 30-10-2024 sprang en indstigningsdør op to gange under kørsel mellem Østerport Station og Odense. Ingen personer kom til skade ved hændelserne. Efter den anden hændelse kørte togsættet med nedsat hastighed til Odense, hvor det blev taget ud af drift.
Døren havde været fejlramt og gennemgået reparation i dagene op til hændelserne. På hændelsestidspunkterne var døren aflåst. Dvs., at trykluftforsyningen til døren var afbrudt, og døren skulle fastholdes i lukket position af dørens mekaniske konstruktion alene.
Havarikommissionens undersøgelse viste, at to af dørsystemets komponenter ikke var justeret efter dørproducentens anvisning. Låsekraften kunne overvindes ved en forholdsvis lille påvirkning af dørens lukkemekanisme.
DSB opdaterede efter hændelserne sine arbejdsinstruktioner, så de afspejlede dørproducentens anvisninger.
Havarikommissionen har givet en anbefaling.
Fakta
Beskrivelse af hændelsen
D. 30-10-2024 afgik ER 2008 kl. 08:18 fra Østerport Station som tog 70831. Kort før ankomst til Køge Nord Station, og med en hastighed på 170 kilometer i timen (km/t), sprang en indstigningsdør op (se Figur 3). Lokomotivføreren (Lkf) fik en fejlmelding i førerrummet og standsede derfor toget. En togbetjent og en medrejsende [pasrejsende] lokomotivfører-kørelærer (P-Lkf-K) lukkede og aflåste døren, og toget kunne fortsætte sin kørsel. Senere, da toget kørte på Storebæltsbroen med 160 km/t, skete det samme igen. I begge tilfælde var der ingen personer så nær døren, at der var risiko for at falde ud.
Omstændigheder
Om morgenen d. 23-10-2024 blev ER 2008 fejlmeldt i Høje Taastrup. Dør 2 på mellemvognen FR 2308 var hoppet ud af greb i føringsmekanismen og kunne derfor ikke lukkes. DSBs værkstedspersonale kørte til Høje Taastrup og udførte en nødtørftig reparation, så togsættet kunne transporteres uden passagerer til værkstedet (Helgoland) for at få udført den endelige reparation. Togsættet ankom til Helgoland samme aften og reparationen var færdig d. 24-10-2024 ved middagstid.
I tiden frem til togsættet skulle afgå som tog 70831 d. 30-10-2024, havde der tilsyneladende, på et tidspunkt, været problemer med døren igen. Dette resulterede i, at døren var blevet aflåst. Dvs., at der var afspærret for trykluftforsyningen til dørstyringen. Uden trykluft på dørlukkecylinderen var dørens fastholdelse i lukket tilstand afhængig af dørmekanismens mekaniske fastholdelse (overcentermekanisme).
Involverede virksomheder
Dørsystemet var produceret og leveret af Tebel Pneumatiek B.V, Holland.
Fremføring, drift og vedligeholdelse blev varetaget af DSB.
Banedanmark var involveret i kraft af, at hændelsen skete på Banedanmarks infrastruktur.
Omkomne, kvæstede og skader i øvrigt
Hændelsen medførte ingen skader på personer, materiel eller infrastruktur.
Ydre forhold
Vejret var tørt, overskyet og ca. 12°C. Middelvind 4,5-6,5 meter pr. sekund fra syd-vest. Vejret vurderes ikke at have haft indflydelse på hændelsen.
Undersøgelser
Interview af involverede
Togbetjent (Tb)
Tb kørte med tog 70831 mod Esbjerg fra udgangsstationen Østerport. Herfra var begge døre i mellemvogn FR 2308 aflåste, og der var gule skilte på dørene i begge sider som angav, at dørene var aflåste. Tb fik ikke information om, hvorfor dørene var aflåste.
Fra Københavns Hovedbanegård skulle Tb billettere i det forreste af togets to togsæt, ER 2008. På et tidspunkt efter København Syd Station bemærkede Tb, at toget bremsede kraftigt, og at der blev tyfoneret. Tb var klar over, at dette betød fare og skyndte sig fremad i toget. Undervejs frem mod forenden af toget kom Tb hen til dørene i mellemvognen FR 2308. Her opdagede Tb, at begge dørblade på indstigningsdøren i venstre side ift. kørselsretningen stod helt åbne. Tb bemærkede en passager, som sad på et klapsæde skråt over for den åbne indstigningsdør og spurte straks, om der havde været passagerer i nærheden af døren, som var stået af eller faldet ud. Det var der iflg. passageren ikke.
Herefter forsøgte Tb at lukke døren ved at trække i den. Dette kunne ikke lade sig gøre, og Tb åbnede derfor lågen ind til dørmaskinen i baldakinen over døren. Her lukkede Tb op for luftforsyningen til døren, hvilket fik døren til at lukke sig.
Nu kom P-Lkf-K hen til Tb. P-Lkf-K hjalp med at kontrollere, at døren var lukket og at overcentermekanismen var aktiveret. Herefter blev der udført ’sparkeprøve’. Tb mente, at trykluftforsyningen til døren igen blev afbrudt for, at den skulle forblive aflåst som fra udgangsstationen.
Der blev nu givet besked til togets Lkf om, at døren var lukket og at kørslen kunne genoptages.
Da toget standsede på Køge Nord Station, gik P-Lkf-K ud og kontrollerede om indstigningstrinnet under den aflåste dør var klappet ind. Det var det, og kørslen kunne fortsætte mod Esbjerg.
P-Lkf-K blev stående ved døren frem til Ringsted, for at holde øje med om den skulle springe op igen.
Kørslen fortsatte uden yderligere begivenheder fra døren frem til Storebæltsbroen.
Her oplevede Tb igen, at der blev bremset og tyfoneret. Tb skyndte sig frem til døren i FR 2308 i forventning om, at det var her, der igen var noget galt. Fremme ved døren sad en passager på klapsædet. Det var muligvis samme passager, som ved første hændelse.
Tb spurgte igen, om nogen var faldet ud eller stået af, hvilket passageren bekræftede, at der ikke var. Herefter fandt passageren en anden plads, som ikke var i vestibulen.
P-Lkf-K kom hurtigt frem til døren, som også denne gang stod helt åben. Tb og P-Lkf-K lukkede døren igen, på samme måde som tidligere. Denne gang blev P-Lkf-K stående og holdt øje med døren frem til Odense, hvor togsættet blev taget ud af drift.
Lokomotivførerelev (Lkf-E)
Lkf-E overtog sammen med Lokomotivførerkørelærer (Lkf-K) tog 70831 på Københavns Hovedbanegård og kørte herfra mod Esbjerg. Da toget nærmede sig Køge Nord Station registrerede Lkf-E, at der kom en fejlmeddelelse i TC-skærmen [meldedisplay] om en åben indstigningsdør. Fejlen blev fulgt af en akustisk alarm.
Lkf-E bremsede toget, og Lkf-K kaldte samtidigt op til togpersonalet for at få dem til at undersøge fejlen. Lkf-E mente ikke at have anvendt tyfonen. Herefter kaldte Lkf-E togkontrolcenteret (TKC) og underrettede om forholdet.
Da Lkf-E fik meddelelse fra togpersonalet om, at døren var lukket og låst igen, kaldte Lkf-E op til TKC og fik tilladelse til at genoptage kørslen.
Da toget kørte på Storebæltsbroen modtog Lkf-E igen en fejlmeddelelse vedr. åben indstigningsdør. Lkf-E gentog samme proces som tidligere.
Ved den videre kørsel blev det aftalt at holde hastigheden under 120 km/t, og at der skulle være personale ved døren hele vejen til Odense, hvor togsættet ville blive taget ud af drift.
Lkf-E mente ikke, at hændelserne skete ifm. passage af modkørende tog. Lkf-E mente, at det nærmere havde noget at gøre med togets høje hastighed på de to tidspunkter.
Pasrejsende lokomotivførerkørelærer
P-Lkf-K sad i bagerste førerrum på tog 70831og bemærkede, at toget standsede kort før Køge Nord Station. Via togets intercom hørte P-Lkf-K, at standsningen skyldtes en melding om en åben dør i forreste togsæt. P-Lkf-K gik herefter frem til døren for at se, om der var brug for hjælp. Da P-Lkf-K nåede frem til døren, havde Tb fået døren lukket. P-Lkf-K lukkede for trykluftforsyningen til døren og udførte en 'sparkeprøve' for at sikre, at dørens mekaniske lås var gået i indgreb. Da alt så ud til at være i orden, gik P-Lkf-K tilbage til bagerste førerrum. Under kørsel på Storebæltsbroen bremsede toget igen, og P-Lkf-K bemærkede, at meldelamper i bagerste førerrum indikerede, at en dør var åben. P-Lkf-K gik nu frem til døren igen. Her bemærkede P-Lkf-K, at døren stod ca. 10 centimeter (cm) åben.
P-Lkf-K hjalp med at få døren lukket igen, men denne gang lod de luftforsyningen være åben, fordi P-Lkf-K vidste, at dette ville kunne hjælpe med at holde døren lukket. Passagererne i vognen blev flyttet til andre vogne, og P-Lkf-K blev ved døren for at holde øje med den og evt. passagerer resten af vejen til Odense, hvor togsættet blev sat ud.
Håndværker/værkstedspersonale (VP)
VP blev sendt til Høje Taastrup d. 23-10-2024 for at tilse ER 2008, som havde en fejl på en dør, der gjorde, at togsættet ikke umiddelbart kunne køres til værkstedet i Helgoland. VP udførte her en nødtørftig reparation, så togsættet, uden passagerer, kunne transporteres til værkstedet. På værkstedet påbegyndte andre håndværkere udskiftning af komponenter i dørsystemet samme aften.
Da VP mødte ind d. 24-10-2024 blev opgaven med at færdiggøre reparationen af døren tildelt VP. En anden håndværker havde løsnet dørens drejecylinder mhp. udskiftning. Men da fejlen ikke var på selve dørcylinderen, spændte VP denne fast igen og kontrollerede vinklen på overcentermekanismens overfald med et dertil indrettet måleværktøj. Vinklen var ikke helt som værktøjet angav, men VP vurderede, at afvigelsen var inden for den tilladte tolerance. VP brugte ikke søgerblad ved vurdering af tolerancen.
VP udskiftede forbindelsesstænger mellem dørcylinder og dørsøjler samt justerede disse ind, så dørene sad parallelt, og så trykket til overvindelse af overcentermekanismen var korrekt.
Ledelsessystemer og certificeringer
Ansvarsfordeling
DSB havde på ulykkestidspunktet et gyldigt EU-sikkerhedscertifikat, som gav ret til at operere med persontrafik på infrastruktur forvaltet af Banedanmark eller Øresundsbro Konsortiet I/S, udstedt i Danmark af Trafikstyrelsen.
Sikkerhedscertifikatet omfattede også uddannelse af egne lokomotivførere.
Herudover havde DSB også et gyldigt ECM-certifikat (Certificate of Conformitiy of Entity in Charge of Maintenance) udstedt af det tyske certificeringsorgan TÜV SÜD Rail GmbH (TSR), DE/30/0122/0001, d. 01-04-2022, med følgende påført under company type:
- Railway undertaking
- Keeper
- Maintenance supplier
DSB skulle på denne baggrund varetage følgende ECM-funktioner:
| ECM - F1 | som overvågede og koordinerede de nævnte vedligeholdelsesfunktioner ECM-F2, ECM-F3 og ECM-F4, og sikrede at vedligeholdelsessystemet levede op til de gældende love og krav. |
| ECM - F2 | som var ansvarlig for forvaltningen af vedligeholdelsesdokumentationen, udarbejdelsen og vedligeholdelsen af konfigurationsstyringen, baseret på design og operationelle data, herunder sikkerhedskritiske komponenter. |
| ECM - F3 | som styrede det rullende materiels vedligeholdelsesplanlægning, udtagelse af rullende materiel fra drift med henblik på vedligeholdelse, samt idriftsættelse af det rullende materiel til drift efter vedligeholdelse. |
| ECM - F4 | som leverede den nødvendige tekniske vedligeholdelse af det rullende materiel samt dokumentation for vedligeholdelsesaktiviteter, som var blevet udført. |
DSB varetog disse fire ansvarsområder på følgende måde:
- Ledelsesfunktionen ECM-F1 blev varetaget af underdirektøren for Vedligehold.
- Vedligeholdelsesfunktionen ECM-F2 blev varetaget af underdirektøren for Rolling Stock Management, som bestod af DSBs tekniske afdelinger for de enkelte litra.
- ECM-F3 blev varetaget af planlægningschefen, som havde ansvaret for vedligeholdelsesplanlægning.
- ECM-F4 blev varetaget af underdirektøren for Vedligehold, som havde ansvaret for værkstederne og klargøring.
Administration af systemer
Vedligeholdelsessystemet var lagt ind i Solydyne, som var det program, der også blev anvendt til DSBs sikkerhedsledelsessystem. På denne måde var der skabt sammenhæng imellem processerne i de to ledelsessystemers grænseflader.
Processer, dokumentation og kontrol
I vedligeholdelsessystemet var beskrevet kompetencestyring og arbejdsprocesser med tilhørende arbejdsinstruktioner og tjeklister for håndtering af materiel, overvågning og dokumentation for udført arbejde.
Vedligeholdelsessystemet og DSBs værksted på Helgoland var ifm. ECM certificering samt efter certificeringen blevet auditeret to gange af certificeringsorganet TSR. Dette var i hhv. 2022 og 2024.
Ved disse audits blev det fastslået, at DSB havde et system, som sikrede, at arbejde på sikkerhedskritiske komponenter, blev udført af medarbejdere med de rette kompetencer. Systemet skulle sikre, at arbejde, som krævede særlige kompetencer, kun blev tildelt til personale, som besad disse kompetencer. Dette blev styret med en kompetence-matrix.
Interne audits blev varetaget af auditorer, der refererede til DSBs kvalitetschef, som ikke havde direkte tilknytning til auditorernes afdelinger eller arbejdsopgaver.
DSB har fremlagt dokumentation for to interne audits af Helgoland, hhv. d. 10-03-2022 og d. 08-02-2023. Ved begge interne audits blev det konstateret at kompetencestyring blev udført med en kompetencematrix, og at der var en eksisterende proces for opdatering af kompetencematrixen ved opnåelse af nye kompetencer. Der blev ved ovennævnte audits ikke gjort fund i relation til tildeling af sikkerhedskritiske arbejdsopgaver.
Kompetencer
DSB havde opsat uddannelseskrav til de medarbejdere, der skulle udføre eftersyn, justering og fejlsøgning af udvendige døre og trin.
Indholdet af denne uddannelse var beskrevet i ’Uddannelsesstandard 1.3. Udvendige døre og trin’.
Uddannelsens del ét var for personale, der skulle udføre vedligeholdelsesarbejde, primært eftersyn, på udvendige døre og trin.
Uddannelsens del to var målrettet personale, der skulle udføre reparationer, udskiftninger og justeringer samt større eftersynsopgaver.
I uddannelsesstandarden var det også beskrevet, at medarbejdere med opnået kompetence fra del to, skulle re-certificeres hvert tredje år. Uddannelsesstandarden havde været gældende og med krav om fuld implementering siden januar 2024.
Teamlederne, som tildelte opgaven med reparation af indstigningsdøren på ER 2008 d. 23-10-2024 og 24-10-2024, havde ikke en medarbejder, der havde gennemført uddannelsens del to til rådighed. Der havde tidligere været en overgangsperiode, hvor den fulde uddannelse ikke var påkrævet, for at kunne udføre reparation og justering af indstigningsdøre. Teamlederen var ikke opmærksom på, at overgangsperioden var slut.
Medarbejderne som udførte reparation og justering af indstigningsdøren d. 23-10-2024 og 24-10-2024 havde erfaring med dette arbejde, men havde kun gennemført uddannelsens del ét.
Eftersyn af udvendige døre
DSBs arbejdsinstruktion ’AI-1300-105 Eftersyn af indstigningsdøre, Tebel’ beskrev, hvordan dørenes mekaniske dele og funktion skulle kontrolleres.
Kontrol af korrekt justering af forbindelserne mellem døre og drejecylinder til dørlukning blev udført med manometer. Her kunne trykket, som skulle opnås før drejecylinderen kunne overvinde overcentermekanismens låsefunktion, aflæses. Hvis ikke dette tryk var 5,5 bar, skulle længden på forbindelserne justeres.
Instruktionen indeholdt ingen beskrivelse af kontrol af vinklen på dørens overcentermekanisme.
Instruktionen indeholdt ingen beskrivelse af kontrol eller justering af dørenes anslagspunkter (Hard points).
Instruktionsvideo
DSB havde udarbejdet en videovejledning, hvoraf det fremgik, hvordan Tebeldøre skulle kontrolleres og grundjusteres efter montage.
Videovejledningen beskrev brugen af et stort kalibreringsværktøj, som kunne måle, om vinklen på overcentermekanismens overfald var korrekt indstillet.
Videovejledningen beskrev ikke kontrol eller justering af dørenes anslagspunkter (Hard points).
Videovejledningen var udarbejdet til værkstedspersonalet på DSBs værksted i Aarhus, hvor DSB udførte arbejde på Litra MF, som også havde Tebeldøre.
Videovejledningen blev ikke anvendt på DSBs værksted på Helgoland.
Dørproducentens installations- og vedligeholdelsesmanual (engelsk)
DSB har til undersøgelsen leveret dørproducentens installations- og vedligeholdelsesmanual (manual). Af manual fremgik bl.a. følgende, som gengives på baggrund af Havarikommissionens oversættelse. Enkelte dele er indsat som direkte citat. Dette er markeret med ”kursiv”.:
Tebeldørens principielle virkemåde
Dørene bestod af to dørblade (A), der i hhv. top og bund var hængslede på svingarme (B og D). Disse svingarme blev via en leddelt kraftføringsarm (E) drejet af en pneumatisk drejecylinder (H). Ved dørlukning blev kraftoverføringsarmen ført forbi det punkt, hvor de var på linje med søjlen og drejecylinderen og dørene lukkede således, at armen vinkledes bagover og pressede mod et endestop. Dette låste dørene mekanisk, idet en påvirkning, med henblik på at presse dørbladene fra hinanden ville resultere i, at kraftoverføringsarmen pressede hårdere mod endestoppet. Åbning af døren ville derfor kun kunne ske ved påvirkning fra den pneumatiske drejecylinder eller gennem nødåbningsproceduren.

Figur 1. Principtegning af dørsystem Tebel fra producentens installations og vedligeholdelsesvejledning.
Dørenes anslagspunkter (Hard points)
Da dørenes anslag mod vognkassen og hinanden skete med gummilister, ville dette punkt kunne variere alt efter gummilisternes hårdhed. Gummilisternes hårdhed kunne ændre sig i takt med ændringer i temperaturen. Derfor var korrekt dørlukning afhængig af fire Hard points på hvert dørblad. Disse Hard points skulle justeres, så de forhindrede dørene i at bevæge sig for langt ind i døråbningen, og skulle, som sådan, give den nødvendige modkraft til dørcylinderens låsefunktion.
“It is necessary both to position the doors accurately relative to the vehicle body profile, and to provide the necessary reaction force for the over-center locking action. As the seals will deflect according to the ambient air temperature, and thus affect the position, it is necessary to fit four adjustable "Hard points" on each door leaf. They are situated at the top and bottom of each door leaf in order to bear against the head rail and the solebar area.”
Procedure for kontrol af lufttryk under dørens lukkesekvens
Dette var en del af kontrollen af om dørlukkemekanismens stangforbindelser var justeret korrekt, så det rette modtryk til opretholdelse af dørlåsning kunne etableres. Trykket, som skulle opnås før drejecylinderen kunne overvinde overcentermekanismens låsefunktion, skulle være 4,5 – 5,0 bar.
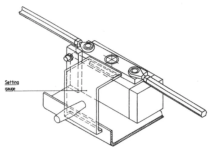
Sikkerhedskontrol - Kontrol af vinklen på overcentermekanismens overfald
Brugen af et specielt måleværktøj til kontrol af korrekt vinkel på overcentermekanismens overfald var beskrevet. Det var endvidere beskrevet, at tolerancen på vinklen (1,75 grader +/- 0,5) kunne kontrolleres ved anvendelsen af et 0,85 mm søgerblad, som netop ikke måtte kunne indsættes imellem måleværktøjet og dørcylinderens drejearm.
“Special setting gauges (fig. 3.14.0) are used to set the over centre-angles correctly; if the angles are too large, then the doors will appear flabby and will not seal properly. If the angles are too small, there will be an insufficient margin of safety and there is a possibility that the doors may become unlocked.”
Samt
“0,85 mm feeler must not enter between gauge and torque arm.”

Figur 2. Måleværktøj 'setting gauge' til måling af vinkel på dørcylinderens drejearm. Figuren et taget fra dørproducentens installations og vedligeholdelsesmanual.
Vedligehold
I intervaller på tre måneder eller 50.000 km skulle lufttryk under dørens lukkesekvens kontrolleres og om nødvendigt justeres.
I intervaller på to år eller 400.000 km skulle vinklen på overcentermekanismens overfald kontrolleres med specielt måleværktøj (se Figur 2) og søgerblad på 0,85 mm.
Sikkerhedsbestemmelser
DSBs driftsinstrukser ’Operatørens Driftsinstrukser til litra ER (ODI-ER)’ og DSBs betjeningsvejledning til Litra ER, opererede med to forskellige begreber vedr. inaktivering af indstigningsdøre hhv. afspærring og aflåsning.
Afspærring af indstigningsdøre fra førerplads
Denne procedure kunne foretages af togets lokomotivfører fra togets førerplads.
Via togcomputeren kunne alle døre på hver enkelt togsæt afspærres fra det aktive førerrum. Derved blev alle betjeningsknapper (både ude og inde) på de afspærrede togsæt inaktive. Således ville de berørte døre ikke være anvendelige for passagererne.
Afspærring blev fortrinsvist brugt til deaktivering af alle døre i dele af tog, hvor der ikke skulle medbringes passagerer, hvis disse blev transporteret i personførende tog.
Retur til Allerede trufne foranstaltninger.
Aflåsning af indstigningsdør
Denne procedure kunne foretages af lokomotivfører eller togfører efter anvisning fra lokomotivfører.
Med betjeningselementer lokalt ved den aktuelle dør, kunne trukluftforsyningen til døren afbrydes. Uden trykluft til rådighed ville et tryk på dørens betjeningsknapper (både ude og inde), ikke kunne påvirke dørens drejecylinder, og døren ville forblive aflåst med den mekaniske kraft fra overcentermekanismen.
Denne procedure blev brugt på fejlramte døre, eller, hvis nødvendigt, når en del af et tog ville standse uden for perron, som ikke var lang nok til toget.
Hvis en dør skulle aflåses, blev døren overfor sædvanligvis også aflåst. Aflåste døre blev markeret med et gult skilt, hvorpå der stod ’Aflåst’ (se Foto 1).

Retur til Allerede trufne foranstaltninger.
Materieltekniske undersøgelser
Tog 70831 d. 30-10-2024 bestod af 2 stk. ER togsæt, med ER 2008 forrest. Døren som sprang op var dør 2 i mellemvognen FR 2308. Denne dør var, i forhold til kørselsretningen, i togets venstre side.

Figur 3. Tegning af ER togsæt med angivelse af litrering, fejlramt dør og kørselsretning.
Ved Havarikommissionens undersøgelse af dør 2 på mellemvognen FR 2308 d. 11-11-2024 og d. 13-11-2024, blev det bemærket, at kraften, som skulle anvendes for at overvinde dørmekanismens mekaniske fastholdelse (overcentermekanisme), var mindre end forventet. Fastholdelsen kunne overvindes ved at påvirke lukkemekanismen med håndkraft. Det var ikke nødvendigt at bruge nødåbningshåndtaget, som ellers var beregnet til at give mere kraft til overvindelse af fastholdelsen (vægtstangsprincip).
Retur til Beskrivelse af hændelsen.
Overcentermekanismen
Ved kontrol af overcentermekanismens vinkel kunne det konstateres, at vinklen var justeret til ca. 1,00 grad, og således uden for dørproducentens anvisning på 1,75 grad (+/- 0,5). Men på en aktiv dør, dvs. med trykluft tilsluttet, blev døren fastholdt i lukket tilstand af lufttrykket på lukkesiden af den drejelige dørcylinder. Ved aflåsning af døren jf. ODI ER, så passagererne ikke kunne benytte døren, blev trykluftforsyningen til døren afbrudt, og lukkekraften skulle alene vedligeholdes af overcentermekanismen.
Dørjustering
Justerbare punkter til anslag imod dørramme (Hard points) var justeret så langt ind i dørrammen, at dørene ikke kom i kontakt med disse punkter. Derved var det alene gummitætningslisten, der fungerede som dørenes anslagspunkt. Dvs. anslagspunktet var lettere fleksibelt og afhængigt af gummiets egenskaber. Disse egenskaber kunne ændre sig eksempelvis sammen med ændringer i temperaturen.
ER 2008 havde efter hændelserne været på værkstedet, hvor dørpladerne blev justeret, og mikroswitch for registrering af dørlukning var blevet udskiftet. Døren var herefter blevet afprøvet jf. DSBs arbejdsinstruktion og fundet i orden. På baggrund af ovenstående fund af afvigelsen i overcentermekanismens vinkel ift. dørproducentens anvisning, vurderede Havarikommissionen, at der ikke var sikkerhed for, at andre togsæt med Tebeldøre ville kunne fastholde dørene lukkede, hvis de blev aflåst ved hjælp af afbrydelse af trykluftforsyningen.
Havarikommissionen anmodede derfor d. 12-11-2024 Trafikstyrelsen om at sikre, at jernbanevirksomheden iværksatte barrierer, der kunne mitigere risikoen for, at passagerer faldt ud af aflåste indstigningsdøre, som utilsigtet gik op under kørsel.
DSB udgav herefter ’DSB ODI ER Cirkulære 07/2024 vedr. aflåsning af indstigningsdøre på litra ER 2001-2022’ (se afsnit Allerede trufne foranstaltninger).
Togcomputer
En mikroswitch ved hver indstigningsdør gav melding til togcomputeren, når dørene var helt lukkede. Meldinger om åben dør kunne skyldes fejl i mikroswitch eller dennes justering, kortvarig bevægelse på dørlukkecylinderen eller hvis døren ikke var helt lukket. De følgende meldinger om åben dør i togcomputeren var således ikke ensbetydende med, at en dør faktisk stod åben.
Togcomputeren registrerede dør åben under kørsel:
- D. 29-10-2024, kl. 20:22
- D. 30-10-2024, kl. 05:42
- D. 30-10-2024, kl. 06:26
- D. 30-10-2024, kl. 06:28
- D. 30-10-2024, kl. 08:57 (det var her døren blev konstateret helt åben mellem Kildebrønde og Jersie Fjern i km 24,6)
- D. 30-10-2024, kl. 09:53 (det var her døren blev konstateret helt åben på Storebæltsbroen i km 124,0)
DSBs fejlmeldesystem
D. 27-10-2024 blev følgende noteret i DSBs fejlmeldesystem
”lkf melder dørfejl 314 Dør 2, lkf aflåser dør men fejl er stadig aktiv, checker ledninger på relæ og de sidder ok. dør er helt lukket og aflåst, fejl går ikke væk.”
Hertil noterede værkstedet efterfølgende:
”indstillet dør switch ok!”
Infrastrukturforhold
Hændelserne skete på Banedanmarks strækning 6 og 1.
I begge tilfælde åbnede døren ud mod et trafikeret nabospor, hvor den tilladte hastighed var op til hhv. 200 og 180 km/t.
Trafiksikkerhedsforhold
I tilfælde, hvor der kunne være en risiko for, at en passager skulle være faldet ud af et tog og ud på et banelegeme, ville trafiklederen eller stationsbestyreren sandsynligvis bede de efterfølgende tog i området (i begge retninger) om at nedsætte hastigheden og være særligt opmærksom under kørslen på den aktuelle strækning. Der ville blive indført kørsel under særlige forhold, som var afhængigt af, om det var en strækning med det nye signalsystem (ETCS) eller det gamle signalsystem (SR 1975):
- På strækning 6 (ETCS): Udkig under kørsel, lokomotivfører underrettet om at være særligt opmærksom, evt. med ordre om nedsat hastighed (Driftsinstruks 5).
- På strækning 1 (SR 1975): Skærpet udkig, lokomotivfører underrettet om årsag, ordre om nedsat hastighed, dog max. 60 km/t.
Da der ikke var tvivl om, hvorvidt passagerer var faldet ud eller steget af, blev ovenstående tiltag ikke iværksat.
Menneskelige faktorer
Af de to muligheder for suspendering af en indstigningsdør, hhv. afspærring og aflåsning, fremstod aflåsning, som den mest effektive metode til sikring mod døren utilsigtet skulle kunne åbnes. Denne metode krævede fysisk betjening af en kontakt lokalt ved den fejlramte dør, og var mere tidskrævende end aflåsning via togcomputeren. At indstigningsdøren var aflåst kunne forstås som et ekstra lag af sikkerhed for at døren ikke utilsigtet kunne gå op, i det associationen om en fysisk lås, i tillæg til dørlukning, foregav to lag af sikkerhed.
Tidligere hændelser af lignende art
I gennem tiden havde der ifølge DSB været flere hændelser med døre, både på Litra ER og MF, som var sprunget op under kørslen. Ved de tilfælde, som Havarikommissionen havde kendskab til, drejede det sig om døre, som ikke var aflåste. Dvs. døre, som havde intakt trykluftforsyning. Der var eksempler på døre, som var sprunget op ved passage af modkørende tog eller ved kørsel ud af eller ind i tunneller. En dør, som havde aktiv trykluftforsyning, vil straks igangsætte lukning af døren igen. Når en udefrakommende kraftpåvirkning fik dørbladene til at springe fra hinanden, var det tidligere sket, at lufttrykket eller fartvinden påvirkede dørbladene så meget, at en eller begge dørblade gik ud af justering, og derefter ikke kunne lukke helt igen. Tidligere indførte DSB en tillægslås nederst på dørene, for at modvirke dette fænomen.
Analyse
Dørsystemet på ER 2008 var leveret af Hollandske Tebel Pneumatiek. Denne dørtype, kaldet ’Tebeldøre’ var den ene af to dørtyper, som anvendtes på DSBs flåde af ER togsæt.
D. 23-10-2024 og 24-10-2024 havde ER 2008 været på værksted for reparation af dør 2 på mellemvognen FR 2308. Forbindelsesstænger mellem dørcylinder og dørsøjler var blevet skiftet og justeret. Ved justeringen sikredes det, at dørbladene sad som de skulle i døråbningen, og at trykket, som skulle til for at dørcylinderens overcentermekanisme blev aktiveret, var korrekt. Dette var beskrevet i DSBs arbejdsinstruktion ’AI-1300-105 Eftersyn af indstigningsdøre, Tebel’. Håndværkeren vurderede, at vinklen på dørcylinderens overcentermekanisme var inden for tolerancen.
D. 27-10-2024 meldte en lokomotivfører dørfejl på ER 2008, og at fejlen ikke gik væk, selvom døren var blevet aflåst. Herefter blev kontakten, som skulle registrere dørlukning, justeret på værkstedet.
I tiden mellem d. 27-10-2024 og 30-10-2024 var dør 2 på FR 2308 igen blevet aflåst. Denne gang uden registrering i DSBs fejlmeldesystem. Det var sandsynligt, at årsagen til denne aflåsning var, at dørlukningskontakten periodisk fortsatte med at melde ’dør åben’. Togcomputeren registrerede dør åben under kørsel én gang d. 29-10-2024 og tre gange d. 30-10-2024, ud over de to tilfælde som er beskrevet i denne rapport, hvor døren måtte lukkes af personalet.
Personalet ombord på tog 70831 fulgte DSBs beskrevne procedure for aflåsning af fejlramt indstigningsdør. Dvs., dørcylinderens overcentermekanisme blev aktiveret med nødbetjeningshåndtag, da der ikke var trykluft til rådighed på den i forvejen aflåste indstigningsdør, og den lukkede/låste dør blev kontrolleret med ’sparkeprøve’ på den nederste halvdel, for kontrol af, at dørens nederste tillægssikringer var i indgreb.
Uden trykluft på dørcylinderens lukke-side var det alene dørcylinderens overcentermekanisme, som skulle fastholde indstigningsdøren i den lukkede position.
Derved medførte proceduren for ’aflåsning af indstigningsdør’ ved afspærring af trykluften til døren, at døren havde større risiko for at springe op, hvis låsekraften i dørcylinderens overcentermekanisme ikke var tilstrækkelig.
Ved de materieltekniske undersøgelser d. 11-11-2024 sås, at der skulle anvendes ringe kraft til at overvinde dørcylinderens overcentermekanisme. Havarikommissionen fandt ved undersøgelserne d. 13-11-2024 årsagen til den reducerede fastholdelseskraft. Det var en kombination af vinklen på dørcylinderens overcentermekanisme, der var mindre end de, i dørproducentens installations og vedligeholdelsesvejledning angivne, 1,75 grader (+/- 0,5), og at indstigningsdørene ikke slog an mod dørrammens faste anslagspunkter (Hard points). Vinklen var ca. 1,00 grad, og uden kontakten med Hard points, kunne døren trykkes længere ind i døråbningen, hvor ved låsekraften i dørcylinderens overcentermekanisme blev aflastet.
Værkstedspersonalet, som udførte dørreparation og justering d. 24-10-2024, havde ikke den krævede kompetence fra anden del af uddannelse i vedligehold af udvendige døre og trin. Det var sandsynligt, at værkstedspersonalet havde indgående kendskab til vedligehold og justering af udvendige døre og trin opnået ved sidemandsoplæring.
Kompetencekravet til justering af døre havde været gældende siden januar 2024. Teamlederen, som tildelte opgaven til en medarbejder uden kompetencen, var ikke opmærksom på, at kompetencekravet var trådt i kraft.
DSBs arbejds- og vedligeholdelsesinstruktioner indeholdt ingen beskrivelser af kontrol af vinklen på dørcylinderens overcentermekanisme. Personalet, som udførte dørreparation og justering d. 24-10-2024, havde kendskab til brugen af værktøjet til måling af vinklen på dørcylinderens overcentermekanisme (setting gauge), men brugte øjemål til vurdering af tolerancen på +/- 0,5 grader. Dette kendskab til setting gauge og metode blev sandsynligvis opnået ved sidemandsoplæring.
DSBs arbejds- og vedligeholdelsesinstruktioner indeholdt ingen beskrivelser af kontrol af Hard points. Personalet, som udførte dørreparation og justering d. 24-10-2024, havde ikke kendskab til placeringen eller betydningen af indstigningsdørenes Hard points.
Af dørproducentens engelske installations- og vedligeholdelsesmanual fremgik bl.a., hvordan dørcylinderens overcentermekanisme og forbindelsesstænger skulle være justeret. Det fremgik endvidere, at korrekt justerede Hard points var nødvendige for at sikre tilstrækkelig låsekraft fra overcentermekanismen.
Dermed var dørproducentens installations og vedligeholdelsesmanual kun delvist gengivet i DSBs arbejds- og vedligeholdelsesinstruktioner.
Konklusion
Da en indstigningsdør åbnede sig under kørslen mellem Kildebrønde og Jersie Fjern, og igen på Storebæltsbroen, skyldtes det en kombination af, at to af dørens mekaniske dele ikke var justeret efter producentens forskrifter, og at trykluftforsyningen til døren var blevet afbrudt i et forsøg på at undgå fejlagtige meldinger om ’åben dør’.
DSB havde ikke omsat væsentlige dele af dørproducentens installations og vedligeholdelsesvejledning til egne arbejds- og vedligeholdelsesinstruktioner, hvorfor vedligeholdelsespersonalet ikke havde tilstrækkeligt kendskab til justering af dele, som dørproducenten havde påpeget som væsentlige ift. sikring af fastholdelse af indstigningsdøre i lukket position.
Supplerende oplysninger
Personalet, som udførte reparation og justering af indstigningsdøren d. 24-10-2024, havde erfaring fra lignende opgaver, men havde formelt set ikke opnået kompetencen til udførelsen af dette arbejde. Teamlederen, som tildelte opgaven til medarbejderen, var ikke opmærksom på, at den tiltænkte opgave, i hen ved et år, havde krævet gennemførelse af en kompetencegivende uddannelse. DSBs kompetencestyringssystem forhindrede ikke tildeling af en kompetencekrævende opgave til en medarbejder uden rette kompetence.
Undersøgelsen har ikke afdækket forhold, som kunne indikere, at en medarbejder med opnået kompetence til reparation og justering af indstigningsdøren, ville have udført opgaven på en sådan måde, at hændelserne d. 30-10-2024 kunne have været undgået.
Allerede trufne foranstaltninger
D. 22-11-2024 udgav DSB ’DSB ODI ER Cirkulære 07/2024 vedr. aflåsning af indstigningsdøre på litra ER 2001-2022’.
Cirkulæret gav først en kort beskrivelse af hændelsesforløbet med ER 2008 og en præcisering af, at problemet kunne opstå på ER togsæt med Tebeldøre, som var aflåste, dvs., hvor trykluftforsyningen var afbrudt.
Det fremgik, at ER 2008 havde gennemgået en grundig justering af alle døre, og at de resterende 21 togsæt med Tebeldøre ville blive kontrolleret hurtigst muligt.
Herefter gav cirkulæret en forholdsordre, som skulle følges, hvis en indstigningsdør skulle aflåses.
- Først skulle det undersøges, om det aktuelle togsæt havde været på værksted og fået sine døre kontrolleret.
- Dørene på kontrollerede togsæt kunne aflåses som vanligt, jf. ODI.
- Hvis døre på togsæt, som endnu ikke var kontrolleret på værksted, skulle aflåses, skulle døren først forsøges afspærret (se afsnit Afspærring af indstigningsdøre fra førerplads) Kun hvis dette ikke var tilstrækkeligt, skulle den aflåses (Se afsnit Aflåsning af indstigningsdør). I begge tilfælde skulle den aktuelle toghalvdel tømmes for passagere
Alle DSBs 22 ER togsæt, som havde Tebeldøre, havde fået kontrolleret og evt. justeret vinklen på dørcylinderens overcentermekanisme pr. d. 12-12-2024.
D. 19-12-2024 udgav DSB arbejdsinstruktion ’AI-1300-107 Grundindstilling af dørmaskine TEBEL’.
Denne arbejdsinstruktion skulle anvendes ved udskiftning af komponenter i dørmaskinen og var bl.a. en omsætning af dørproducentens installations og vedligeholdelsesvejledning for så vidt angik punkterne:
- Kontrol af drejecylinderarmens dødpunkt (overcentermekanismens vinkel)
- Indstilling af ’Hard points’
- Indstilling af forspændingstryk (trykket, som skulle opnås før drejecylinderen kunne overvinde overcentermekanismens låsefunktion)
Ved udgivelsen af denne redegørelse havde 15 af DSBs 22 ER togsæt, som havde Tebeldøre, fået grundindstillet dørene jf. denne arbejdsinstruks.
D.17-03-2025 udgav DSB arbejdsinstruktion ’AI-1300-105 Eftersyn af indstigningsdøre, Tebel’, hvor bl.a. kontrol af drejecylinderarmens dødpunkt (overcentermekanismens vinkel) var beskrevet.
Retur til Dørjustering.
Anbefalinger
Undersøgelsen har påvist, at DSBs arbejds- og vedligeholdelsesinstruktioner ikke berørte forhold, som en producent af sikkerhedskritiske komponenter havde angivet som nødvendige for, at de leverede dele kunne fungere fuldt sikkerhedsmæssigt forsvarligt. Dette har DSB efter hændelsen taget hånd om.
Ved udgivelsen af denne redegørelse havde DSB endnu ikke gennemført grundjustering af alle Hard points på ER togsæt med Tebeldøre.
DK-2025 R 8 af d. 16-12-2025
Havarikommissionen anbefaler, at certificeringsorganet, som har udstedt DSB’s ECM-certifikat og som fører tilsyn med vedligeholdelsessystemet, igennem sin tilsynsindsats hos DSB sikrer, at DSBs vedligeholdelsessystem lever op til kravene i ECM forordningen (EU) 2019/779 Bilag II, Afsnit II, punkt 5 a, samt Afsnit IV, punkt 2 a. (se Bilag 1), herunder sikrer, at DSB har foretaget grundjustering af alle Hard points på ER togsæt med Tebeldøre jf. dørproducentens installations og vedligeholdelsesvejledning.
Retur til Resumé.
Bilag
Bilag 1
Uddrag af ECM forordningen (EU) 2019/779
(EU) 2019/779, Bilag II, Afsnit II, punkt 5 a og b
- For at holde vedligeholdelsesdokumentationen ajourført i hele et køretøjs livscyklus skal organisationen have procedurer for:
- indsamling af mindst de relevante oplysninger vedrørende:
- karakteren og omfanget af de operationer, der er gennemført, herunder, men ikke begrænset til ulykker, alvorlige ulykker og hændelser som defineret i direktiv (EU) 2016/798
- de påviste fejl i komponenter
- karakteren og omfanget af planlagte operationer
- den vedligeholdelse, der rent faktisk er udført
(EU) 2019/779, Bilag II, Afsnit IV, punkt 2a:
- Organisationen skal have procedurer, der sikrer, at:
- komponenter (herunder reservedele) og materialer anvendes som angivet i vedligeholdelsesordrerne og leverandørdokumentationen
Retur til Anbefalinger.
Kontakt til Havarikommissionen
Hvis du har spørgsmål til denne publikation, er du meget velkommen til at kontakte os.
